
(VEN215)
Ventily otopných těles jsou používány v teplovodních soustavách pro regulaci prostorové teploty v jednotlivých místnostech nebo zónách. Instalují se v kombinaci s termostatickými hlavicemi nebo elektrickými a termickými pohony.
Jejich použití se zásadně doporučuje ve všech prostorách objektu, především však v prostorách s možností ovlivnění vnitřní teploty cizími zdroji tepla nebo tam, kde požadujeme rozdílnou teplotu v jednotlivých místnostech.
Součástí dodávky je ochranná krytka, která slouží současně ke změně přednastavení.
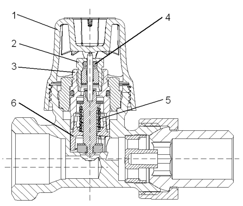
Provedení:
1 Ochranná krytka/pomůcka pro změnu přednastavení
2 Těsnicí objímka
3 Ventilová vložka
4 O-kroužek
5 Zpětná pružina
6 Clona sloužící k omezení průtoku
Objemový průtok termostatickým ventilem je možno regulovat pomocí integrované clony, přičemž je k dispozici při každém stupni přednastavení plný zdvih ventilu.
Nastavení jednotlivých stupňů se provádí pomocí přiložené krytky.
Vlastnosti:
• Ventily jsou vyráběny podle normy EN 215.
• Těsnicí objímku je možno vyměnit BEZ POUŽITÍ MONTÁŽNÍHO NÁSTROJE i tehdy, když je otopná soustava v provozu (pod tlakem) .