
(RTN 51G)
• Termostatické hlavice nevyžadují externí zdroj napětí
• Kapalinové čidlo s rychlou reakcí na změny teploty prostoru
• Rychlá montáž bez nářadí pomocí převlečné matice
• Bezhlučný a bezúdržbový provoz
• Možnost doplnit o ochranu proti odcizení
Použití:
• Pro ventily SIEMENS VDN..., VEN... a VUN...
• Pro kombiventily (integrovaný regulátor diferenčního tlaku) VPD… a VPE...
• Pro ventily značek Heimeier, Cazzaniga, Oventrop M30 x 1,5, HoneywellBraukmann, MNG a TA typ TBV-C (bez adaptéru)
• Pro ventily s převlečnou maticí a závitem M30 x 1,5 a jmenovitým zdvihem 1,5 mm (bez adaptéru)
• Pro ventily ostatních výrobců je třeba použít odpovídající adaptéry řady AV… (viz «Přehled typů / Příslušenství»).
Funkce:
Kapalinové čidlo reaguje na odchylky od požadované teploty, která je nastavena na termostatické hlavici.
Při stoupající pokojové teplotě se kapalina rozpíná v kovovém pouzdru a tlačí na vlnovec.
Ten pomocí dříku uzavírá ventil a redukuje tak průtok otopné vody tělesem.
Při klesající pokojové teplotě se ventil analogicky otvírá a zvyšuje tak průtok otopné vody.
Tímto způsobem termostatická hlavice plynule ovládá ventil otopného tělesa a reguluje tak průtok tělesem.
Výsledkem je konstantní pokojová teplota podle požadované hodnoty.
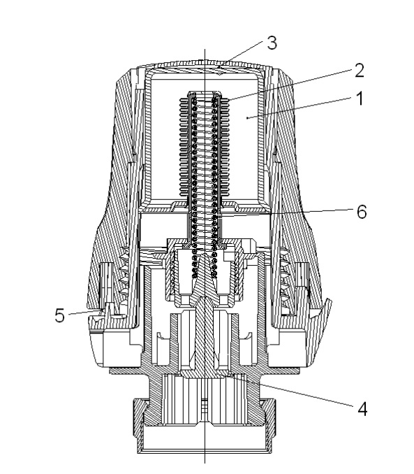
Provedení:
1 Kapalinové čidlo teploty
2 Vlnovec
3 Zarážka k omezení zdvihu
4 Dřík
5 Zarážky sloužící k omezení nastavovaných hodnot
6 Uzavírací pružina
K nastavení žádaného rozsahu teplot slouží dva přestavitelné jezdce nad upevňovacím závitem:
→ Nastavte jezdce pro omezení až k dorazu (při nastavení hlavice na požadovanou teplotu) → stiskněte jezdec směrem k hlavici → hlavici nastavte na požadovanou hodnotu → uvolněte jezdec.
Hlavice je opatřena čísly a symboly, které odpovídají přibližně následujícím hodnotám teploty prostoru :
0 | ∗ | 1 | 2 | 3 | 4 | 5 |
Ventil zcela uzavřen | Ochrana proti zamrznutí při 8 °C | 12°C | 16°C | 20°C | 24°C | 28°C |
Termostatická hlavice musí být nainstalována tak, aby vzduch mohl vždy volně proudit kolem teplotního čidla.
Podle tohoto hlediska musí být zvolen druh termostatické hlavice.
Standardní provedení s vestavným teplotním čidlem.
Tato termostatická hlavice NESMÍ být zakryta obložením otopného tělesa, nábytkem nebo dlouhými závěsy.
Dále nesmí být čidlo ovlivňováno přímým slunečním zářením nebo prouděním chladného vzduchu.
Instalovat termostatickou hlavici svisle nahoru je zásadně nevhodné, protože cirkulující teplo ovlivňuje rozhodujícím způsobem funkci hlavice, která předčasně uzavře ventil.
Důsledkem je tepelná nepohoda (chlad) v místnosti.